PMX7x PMX7x压力模式设置
PMX7x/PMX7x压力模式设置

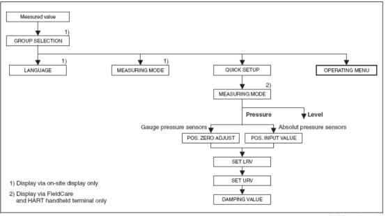
Measured value display显示测量值
按E键进入菜单GROUP SELECTION
GROUP SELECTION
按+或-找到测量模式MEASURING MODE
MEASURING MODE
按E进入后选择压力模式Pressure
GROUP SELECTION
按+或-找到快速设置菜单QUICK SETUP ,按E进入
POS.ZERO ADJUST
当仪表已经安装完成后,可能会产生一定的零点漂移,可以通过零点调整POS.ZERO ADJUST消除漂移。选择确认Confirm ,可以使当前测量值恢复成0.0 ,不需要进行调整时选择取消Abort.
SET LRV设置4mA对应值
SET URV设置20mA对应值
DAMPING TIME设置阻尼时间,一般来说使用默认值即可。
2025-03-11 16:29
ꄘ浏览量:379
友情链接
服务范围
工业自动化产品专业代理,品质保证
技术领先,价格优势,报价迅速,产品全面
技术选型,产品报价,销售安装,工程售后,为您提供工业自动化一站式服务
自动化专业销售
Tel. 19925440503(微信同号) WhatsApp: +86 18576429229
联系工程师
扫码添加WhatsApp
