CUM253 223变送器-浊度 污泥 浓度基本测试
CUM253/223变送器+浊度/污泥浓度基本调试
1安装
CUM253共有3种安装方式,如下:
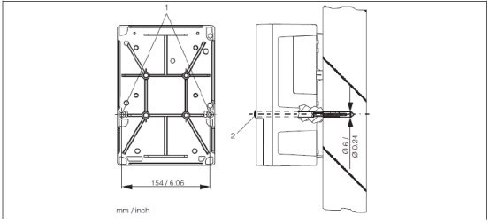
1.1墙式安装
位置1的两个06孔用螺钉固定在墙上。出厂时这两个孔用黑色堵头(位置2 )堵住。
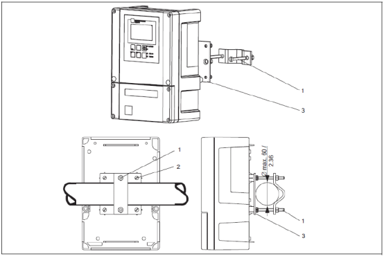
1.2管道安装
可使用竖直或水平管道安装。安装时使用变送器后面的四个M5螺孔(位置2 ) , 管道最大直径为060

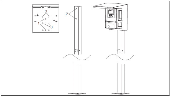
1.3气候防护安装

注:管道安装需要额外订购安装附件,气候防护罩需作为附件单独订购。变送器如果安装在室外露天环境,建议选用气候防护罩以保护仪表。
2接线
传感器CUS31和CUS41的接线方式相同。

1)把随机提供的对应接线图贴到接线端子上。
2)传感器供电的棕色、白色分别接到87、88 端子。
3)传感器信号传输和屏蔽的绿色、黄色和黑色分别接到96、97 和S端子。
4)标记"NC"和未标记的端子不接。
5) 220VAC电源接到L1和N端子; 24VDC电源接到+和-端子。
6)第一路电流输出(浊度)接到31、32端子,第二路电流输出(温度,可选)接到33、34端子。电流输出为有源输出。
注:须保证所有的缆塞拧紧、密封。
3按键功能
3.1基本按键功能描述

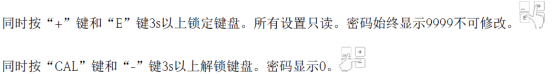
3.2键盘锁定和解锁

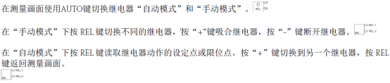
3.3继电器操作

4.1单位设置
按"E”键,输入密码“22”。在"SETUP1"菜单下的"A1" 菜单,选择需要的单位。

4.2量程设置
在"Current Output"菜单下,设置4 - 20mA对应量程。在O1中选择电流输出通道, 仪表双通道输出时有OUT1、OUT2 选择,单通道输出时直接进入下一项。OUT1作为浊度或淤泥浓度的电流输出OUT2作为温度的电流输出。

4.3变送器复位
在"Service" 菜单下的"S9”菜单,选择"Facty"复位变送器。

5标定
按"CAL”键,输入密码“22”。在"Calibration"菜单下完成标定。
1)在"C1”菜单选择“1-Pt”按“CAL”键。
2)进入"C151” 菜单输入标定的数值,按"CAL"键。
3)数值稳定之后进入"C152” 菜单示标定状态。
4) "C153” 菜单选择是否保存标定数据,还是放弃,还是重新标定。
6常见故障代码

友情链接
服务范围
工业自动化产品专业代理,品质保证
技术领先,价格优势,报价迅速,产品全面
技术选型,产品报价,销售安装,工程售后,为您提供工业自动化一站式服务
自动化专业销售
Tel. 19925440503(微信同号) WhatsApp: +86 18576429229
联系工程师
扫码添加WhatsApp
