CM44X变送器-电导率基本调试
CM44x变送器+电导率基本调试
1安装
CM44x共有3种安装方式,如下:
1.1竖直管道安装
1.2水平管道安装

]
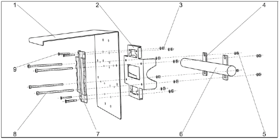
1.3墙式安装

注:竖直管道和水平管道安装需要额外订购安装附件。
2接线
2.1电源接线

注:请看清CM44x铭牌是220VAC还是24VDC供电。
2.2电导率传感器接线

1)棕、白、绿、黄四根电缆线分别连接到87 , 88, 97 , 98号端子。
2)传感器电缆屏蔽层需接地。
3)电流输出接31 , 32端子。电流输出为有源输出。
注:须保证所有的缆塞拧紧、密封。
3按键功能
按下软键:直接选择菜单

旋转浏览器:在菜单中移动光标

按下浏览器:选择功能

旋转浏览器:改变数值

按下浏览键:接受新数值

4设置
4.1量程设置
在"菜单/设置/输出/电流输出x:x"菜单下设置"范
围低值”和“范围高值”

4.2变送器复位
在"菜单/诊断/系统测量/重置”菜单 下选择"出厂默认”, 复位变送器。

5标定.
5.1空气标定
标定前将探头清洗擦干后放置于空气中。进入"菜单/标定/电导率”选择“空气设定” ,按照菜单提示操作。标定成功后显示空气标定的数值,询问是否调整标定数据。标定失败后提示是否再次标定。

5.2电极常数标定
进入"菜单/标定/电导率”选择“电极常数” ,按照菜单提示操作,设置“电导率参考值”进行标定。标定成功后显示新的电极常数,询问是否调整标定数据。标定失败后提示是否再次标定。新的电极常数自动覆盖原电极常数。

6常见故障代码
故障代码及含义自动显示在测量界面;可进入"菜单/诊断”查看故障代码,按"?"键查看故障含义。

友情链接
服务范围
工业自动化产品专业代理,品质保证
技术领先,价格优势,报价迅速,产品全面
技术选型,产品报价,销售安装,工程售后,为您提供工业自动化一站式服务
自动化专业销售
Tel. 19925440503(微信同号) WhatsApp: +86 18576429229
联系工程师
扫码添加WhatsApp
