PMP51B压力变送器介绍

首先我们介绍一下这款仪器的优势与适用场景,新一代Cerabar压力变送器坚固耐用,功能先进,支持现场或远程操作,按需维护,工艺过程智能安全。固件设计可以确保仪表的易操作性。操作向导直观清晰。采用Bluetooth蓝牙接口通 信协议,安全实现远程仪表操作。大屏显示,清晰显示测量值。最大承受压力达到400 bar (6000 psi),在薄膜密封的情况下最高过程温度达400 °C (752 °F),精度也非常的高,测量量程的±0.055%。
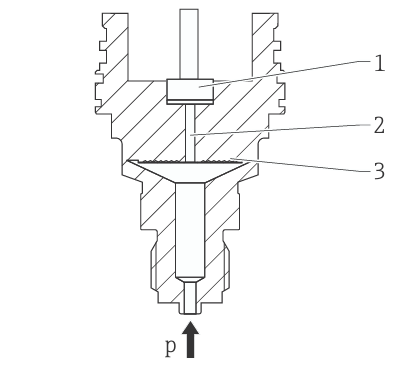
下面是该款压力变送器的测量原理示意图,如图。带隔膜密封的相较于不带的多了一个金属膜片。其原理为压力导致传感器金属隔膜发生形变。填充液将压力传递给电阻桥所在的测量部件一侧。测量与压力相关的桥路输出电压变化,并进行后续计算处理。

对于带隔膜密封的,压力作用在隔膜密封系统的隔膜上,填充液将压力传导至内置隔膜。导致内置膜片发生形变。填 充液将压力传递给配备电阻桥的测量部件。测量与压力相关的桥路输出电压变化,并进行后续计算处理。通俗来说就是压力作用于膜片,产生形变然后转化为压力,再通过显示单元进行显示。
一般情况下是不需要使用隔膜密封的,只有在一些比较复杂或者是要求比较高的情况下需要使用。

这是PMP51B的一些测量系统,对应的字母数字为,A 标准型仪表(不带隔膜密封系统)、 B 带隔膜密封系统的仪表、 1 带紧凑型隔膜密封系统的仪表、 2 带隔热管隔膜密封系统的仪表、 3 带毛细管隔膜密封系统的仪表。在选择的时候可以根据需求来进行选择。
在安装的时候需要按照压力表规范安装标准来进行安装,膜片处易发生黏附或堵塞时,应使用法兰冲洗环和法兰密封圈和扁平密封圈冲洗环。进行仪表安装和接线操作时,以及在使用过程中,防止水汽进入外壳 ,尽可能将电缆和插头朝下,防止水汽进入。
隔膜密封系统与压力变送器共同组成封闭的已标定系统,通过隔膜密封系统和变送器测量系统中 的充注口充注填充液。充注口已经密封,禁止打开。
在进行气体压力测量的时候带截止阀的设备安装在取压点的上方,确保冷凝物能够回流至过程中。进行蒸汽压力测量的时候要注意变送器的最高允许环境温度!
液体压力测量时要带截止阀的仪表安装在取压点下方,或与取压点等高度安装。液位测量始终安装在测量点的最低位置,这些就是基本的一些安装情况。
友情链接
服务范围
工业自动化产品专业代理,品质保证
技术领先,价格优势,报价迅速,产品全面
技术选型,产品报价,销售安装,工程售后,为您提供工业自动化一站式服务
自动化专业销售
Tel. 19925440503(微信同号) WhatsApp: +86 18576429229
联系工程师
扫码添加WhatsApp
