FMI51电容液位计的安装和接线注意事项
FMI51电容液位计的安装和接线注意事项
一、安装注意事项
1. 探头安装要求
· 位置选择:
o 禁止安装在进料区(避免介质冲击干扰)。
o 探头与容器壁距离 ≥50 mm(避免电容干扰),与容器底板间距 ≥10 mm。
o 搅拌罐中需与搅拌器保持安全距离(避免机械损伤)。
o 存在横向负载时,必须使用带接地管的杆式探头(图4.2.1)。

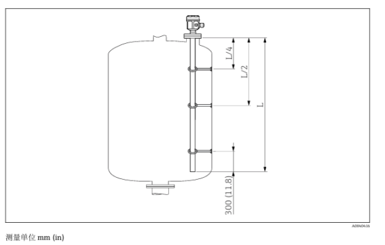
· 支撑装置(长度>1 m时强制使用):
o 全绝缘探头可安装在导电/非导电支撑上;部分绝缘探头需对未绝缘端绝缘。
o 支撑间距:最下方支撑距探头末端300 mm,中间支撑间距L/2(图4.2.2)。

2. 过程连接与密封
· 螺纹安装(G½/G¾/G1/G1½):
o 使用弹性纤维密封圈(耐化学腐蚀),扭矩需按规格控制(如G½≤80 Nm)。
o 锥形螺纹(NPT)需使用导电密封材料(避免绝缘干扰)。
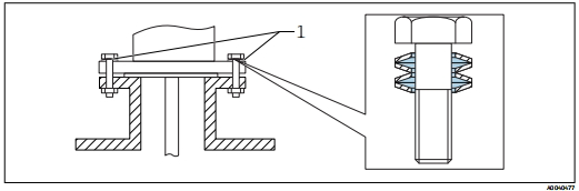
· 法兰/卡箍安装:
o 密封圈需耐受过程温度和压力(PTFE包层法兰需配弹簧垫圈)。
o 定期检查螺丝紧固(推荐扭矩60–100 Nm)。

3. 外壳调整与密封
· 外壳旋转:可参照电缆入口位置旋转270°,户外安装时电缆需向下弯曲并用扎带固定(防水)。

· 密封保护:
o O形圈禁止使用矿物油基润滑脂(损坏密封)。
o 安装后需确认保护罩和缆塞完全密封(防水防尘)。
4. 特殊工况处理
· 非导电介质(电导率<1 μS/cm):
o 必须使用接地管,最小探头长度按公式计算(见4.4节)。
· 分离型外壳:
o 探头与外壳间电缆长度≤6 m,穿墙敷设需与过程连接隔离。
o 墙装架安装时需作为钻孔模板预定位(图4.5.2)。

二、接线注意事项
1. 安全准备
· 上电前检查:
o 供电电压匹配铭牌(非防爆区12–36 VDC,本安区12–30 VDC)。
o 先断电再操作,防爆区需遵守《安全指南》(XA文档)。
2. 等电位与接地
· 等电位连接:
o 传感器端电缆屏蔽层单端接地(防爆场合)。
o 外壳接地端(T13/F13等)需可靠连接工厂接地系统(图5.1.1)。
· 电缆规范:
o 使用屏蔽仪表电缆(横截面0.5–2.5 mm²)。
o 实现等电位时,屏蔽层可两端接地优化抗扰(EMC符合NAMUR NE21)。
3. 端子分配与连接
· 两线制接线:
o 端子分配:棕色线(+),蓝色线(–)(图5.2.2)。
o HART通信需外接250Ω电阻(若供电单元未集成)。
· M12连接头:无需开盖即可接线(图5.1.4)。
4. 防爆区特殊要求
· 缆塞选择:必须使用指定防爆缆塞(见5.1节)。
· 接线后检查:
o 确认端子顺序正确。
o 缆塞密封完好,外壳保护罩完全拧紧。
o 开机后绿色LED闪烁表示正常。
三、调试与维护关联要点
· 标定前提:介质电导率<100 μS/cm、罐壁距离<250 mm或需自定义量程时,必须重新标定(7.3节)。
· 功能安全测试(位置6):启动后输出4–22 mA斜坡信号(约40秒),需协调工艺侧(7.2.8)。
· 维修警告:防爆仪表仅允许使用原装备件,维修后需通过DAT模块传输标定值(10.3节)。
友情链接
服务范围
工业自动化产品专业代理,品质保证
技术领先,价格优势,报价迅速,产品全面
技术选型,产品报价,销售安装,工程售后,为您提供工业自动化一站式服务
自动化专业销售
Tel. 19925440503(微信同号) WhatsApp: +86 18576429229
联系工程师
扫码添加WhatsApp
