T-mass 65安装
T-mass 65安装
管道为满管状态是热式流量计进行准确测量的前提条件。因此,安装流量计时请注意以下求。
一、安裝位置
●扰动流体状态对基于热扩散原理测量的仪表的影响巨大。遵守推荐前后直管段长度要求。
●丰富的工程实践经验是正确进行管路系统设计和安装的前提。
●确保传感器的正确安装方向和安装位置。
●采取必要的措施减少或避免出现冷凝现象(例如:安装冷凝水分离器、进行隔热处理等)。
●必须遵守最大允许环境温度和介质温度范围的要求。
●在阴凉处安装变送器,或安装防护罩 。
●基于机械结构考虑,为了保护管道,安装重量较大的传感器时,建议使用安装基座。

①测量饱和气体或不纯净气体时,建议采用在竖直管道且流向朝上的安装方向,减小冷凝/污染的影响。
②强振动场合或安装不稳定时,不建议采用。
③仅适用于纯净/干燥气体。如果可能会出现粘附或发生冷凝现象时,请勿采取水平管道且变送器表头朝下的安装方向。传感器的安装参考
④测量潮湿气体或饱和水气体(例如:沼气)时,应安装在倾斜管道上(a = max. 135*)。
二、隔热
测量潮湿气体或饱和水气体(例如:汽)时,应对管路和流量计壳体进行隔热处理,防止水滴渗透进入测量传感器中。

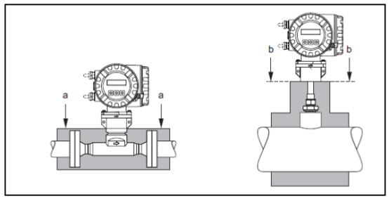
T-mass 65F和65I的最大保温层厚度示意图
a.法兰式传感器的最大保温层厚度
b.插入式传感器的最大保温层厚度
三、热式流量计前后直管段
扰动流体状态对基于热扩散原理测量的仪表的影响巨大。通常,热式流量计应尽可能远离扰动源安装。
详细信息请参考ISO 14511标准。
●在流量计的上游侧存在两个或多个扰动源时,应遵守最强扰动源的推荐前直管段长度。例如:在管道弯头前安装有阀时,阀与流量计间所需的直管段长度应为50 x DN。测量极轻的气体(例如:氦气和氢气)时,所有的前直管段长度应加倍。
最小推荐前后直管段长度(不带流量调节器) :
法兰式传感器

1=缩径管; 2=扩径管; 3=90°弯头或T型管; 4=2x90°弯头;5=2x90°弯头(3向); 6=控制阀
插入式传感器

1=缩径管;2=扩径管;3=90°弯头或T型管; 4=2x90°头; 5=2x90°弯头(3向); 6 =控制阀或压力调节器-般热式质量流量计安装要求(缩径管、扩径管和90°弯头或T型管) :前直管段长度法兰式传感器: 15 x DNO插入式传感器: 20x DN后直管段长度法兰式传感器: 2x DNO插入式传感器:5xDN
四、孔板流量调节器
无法满足前后直管段长度要求时,建议安装孔板流量调节0器。

1 =法兰式传感器使用的流量调节器; 2=插入式传感器使用的流量调节器插入式传感器65I用流量调节器应用管径范围为DN 80 .. 300 mm(3...12")。流量调节器必须安装在传感器的上游管道处,前直管段长度为8 x DN。流量调节器自身还需要5 x DN的前直管段。法兰式传感器65F用流量调节器Endress+ Hauser专用设计的t-mass F传感器(口径为DN 25 ..100(1' ... 4"))。提供多种安装孔类型和安装尺寸,一个孔板可以同时满足多种不同法兰励等级(例如: CI. 150和CI.300)的要求。

流量调节器的安装:
流量调节器和垫圈需要与两个管道法兰和流量计法兰相匹配。仅允许使用与法兰螺栓孔相匹配的安装螺母,确保正确定位。定位槽 需要与变送器处于同-水平面。流量调节器安装错误对测量精度的影响很小。1=孔板流量调节器;2=密封圈/垫圈;3=定位槽; 4=与变送器处于同一平面的校准槽

带压力测量的后直管段长度勵测量点应安装的测量仪表的下游管道上,以确保压力变送器的过程连接对进入测量点的流量无影响。
注意!
●为了优化测量性能,建议同时订购t-mass F传感器和流量调节器, 使两者能同时进行标定。这样对测量性能的影响甚微。
●非Endress + Hauser的其他类型流量调节器与t-mass F传感器配套测量时,管道内的流体状态和压降可能会影响测量性能。
●螺栓、螺母、密封圈等均为非标准供货件, 需要用户自备。
五、管路系统的要求
●连接管道应与流量计内径一致最大管径的偏差不能超过:
-口径< DN 200 (8'):1 mm (0.04 inch)
-口径≥DN 200 (8):3 mm (0.12 inch)
重新安装时,应无金属颗粒和磨损性颗粒生成,防止启动时损坏感应元件

六、热式质量流量计的安装方向:
务必确保传感器上的箭头指向与管道中气体的流向致。
法兰式

插入式

①测量饱和气体或不纯净气体时,建议采用竖直管道且流向向上的安装方向,减小冷凝或污染的影响。
②剧烈振动环境中,或安装不稳定时 ,不建议采用此安装方向。
③仅适用于测量清洁气体/干燥气体。测量十分潮湿的气体或饱和水气体(例如:沼气) ,请勿从在水平
管道的底部安装传感器。应采取如下图所示的倾斜管道安装方向(口a =135°)
七、插入式传感器的安装

焊接座的安装条件:
小心!
在薄壁矩形管道中安装时,请使用合适的传感器支架安装。
D = 031.0mm土0.5 mm (0 1.22'土0.019")

调节插入式传感器的位置:
将传感器插入焊接座中, 手拧紧紧固套管下螺母,再使用扳手(42 mm)拧紧14/4圈。
小心!
●NPT螺纹:使用螺纹密封胶带或密封胶
●G1A螺纹:必须安装密封圈(标准供货件)

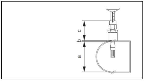
插入深度的计算:
a.圆形管道内径。 传感器竖直安装时,矩形管道的
管道高度;传感器水平安装时,矩形管道的管道宽度。
(a =min.80 mm或3')
计算插入深度: (0.3 x a)+ b+c + 2 mm
(插入深度=(0.3.A)+B+(C1+C2)+0.079inch)
b.管壁厚度
c.管道上的焊接短管深度,包括传感器管道接头和在线更换安装套件可选)。
插入式传感器所需的最小长度可以通过Endress + Hauser的Applicator选型软件(版本号10.02或后续版本)计算或通过以下步骤计算。插入式传感器所需的最小长度取决于所需插入深度。插入深度计算值必须在相应插入式传感器的可调节范围内。
1.确定尺寸A、B、C1和C2

A=圆形管道:管道内径(DN)矩形管道/渠:内部尺寸
B=管壁厚度或渠厚度
C1+C2 =安装组件长度和紧固套管的插入管长度
通过传感器"” 快速设置菜单计算插入深度计算插入深度时,需要下列参数:


2.计算插入深度插入深度=(0.3-A)+ B + (C1 +C2)+2mm
3.将插入深度计算值与下表中的参数值相比较,得出插入式传感器的恰当插入深度。插入深度计算值必须在相应插入式传感器的可调节范围内!

调节插入深度计算值:
a.拧紧紧固套管的上部螺母,保证仍能进行传感器
位置调节。
b.按照插入深度计算值调节传感器位置。

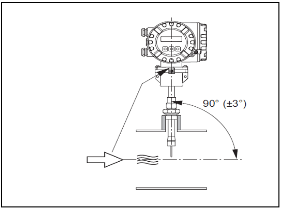
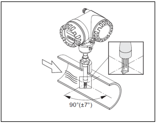
参考流向,调节插入式传感器的插入方向检查并确认管道上的传感器安装方向与流向呈90°, 旋转传感器,使传感器上的箭头指向与流向一致。


固定插入式传感器:
1.手拧紧紧固套管(1) ,固定传感器。随后,使肝口扳手(36 mm)顺时针方向再拧紧1/4圈。
2.拧紧两颗固定螺丝(4) , (内六角扳手3 mm ;1/8")。
警告!注意扭矩大小: 4 Nm (2.95 lbf ft)
3.检查确保传感器和变送器不再转动。
4.在最大工作压力下,检查测量点是否存在泄漏。
八、变送器安装指南
旋转现场型铝外壳:现场型铝外壳,适用于非防爆区

现场型组外壳,用于1区或C.IDm. 1筋爆场合

a.松开固定螺丝。
b.顺时针方向轻轻旋转变送器外壳,直至挡块位置(螺纹顶端)。
c.逆时针旋转变送器外壳(max.360°)至所需位置。
d.重新拧紧固定螺丝。

a.按下显示模块侧边的卡扣,从电子腔盖板上拆卸下显示模块。
b.将显示模块旋转至所需位置(两个方向上的最大旋转角度均为4x45°) ,并将显示模块重新安装在电子腔盖板上。

友情链接
服务范围
工业自动化产品专业代理,品质保证
技术领先,价格优势,报价迅速,产品全面
技术选型,产品报价,销售安装,工程售后,为您提供工业自动化一站式服务
自动化专业销售
Tel. 19925440503(微信同号) WhatsApp: +86 18576429229
联系工程师
扫码添加WhatsApp
