Prosonic 93安装
Prosonic 93安装
一、安装位置

安裝位置:安装位置测量管道为满管状态是流量计正确测量的前提。尽可能将传感器安装在向上的管道上。
注意!
测量管中出现气体积聚或形成气泡现象时,会增大测量误差。
因此,请避免管道中的下列安装位置:
●管道最高点。易积聚气体。
●直接安装在向下排空管道的上方。易出现非满管管道状态。
二.安裝方向

A推荐安装方向,其中流体向上流动
B水平管道中的推荐安装范围
C建议安装角度, max.120°
竖直管道:需要在竖直管道上安装传感器时,建议选择流体自下向上流动的管道(视图A)。选择此安装向,管道内流体静止时,其中夹杂的固体介质将下沉,气体将上升,远离传感器。管道可完全自排空,不会产生固体粘附怦管道:需要在水平管道上安装传感器时,建议在(视图B)所示的区域内进行安装,以避免管道顶部的气体和空气积聚,以及管道底部的沉积物对
测量的影响。
三、前后直管段

前后直管段:如可能,传感器的安装位置最好避开阀门、三通、弯头等管件。建议遵守下列前后直管段长度要求,以确保测量精度。前后直管段的俯视图
A捆绑式
B插入式
1 =萨路测量时的阀]
2 =双声路测量时的阀门
1阀门
2泵
3不同平面上的两个管道弯头
四、传感器的选择按装位置
1、安装行程
通常,采取下列两种传感器安装位置:
●单行程测量时的传感器安装位置:两个传感器分别安装在管道的相对侧。
●双行程测量时的传感器安装位置:两个传感器同时安装在管道的同一侧。

传感器的安装位置俯视图
1单行程测量时的传感器安装位置
2双行程测量时的传感器安装位置
2、传感器安装方式:
声波信号传播的行程数取决于传感器类型、管道标
称口径和管壁厚度。建议采用下列传感器安装方式:

1)捆绑式传感器建议采取双行程测量安装位置。双行程测量安装位置是最简单、最恰当的安装方式,即使仅允许在管道的单侧进行操作,也可完成整个测量系统的安装。但是,在某些特定工况条件下,传感器采取单行程测安装位置更加合适。例如:
●壁厚>4mm(0.16)的部分塑料管道●复合材料(例如GRP)管道●有内衬的管道●声学阻尼的流体测量
2)需要在小口径管道(DN 65/ 2/2'或更小口径)上安装传感器时,如果使用Prosonic Flow W传感器测量,安装间距可能过小,无法满足双行程测量的传感器安装间距要求。此时,必须采取单行程测的传感器安装位置。
3)对于复合材料(例如GRP)管道、部分有内衬管道、管壁厚度>10mm (0.4")的管道或需进行重声学阻尼流体流量测量时,建议采用工作频率为0.5MHz的传感器测量。此时, 建议采取单行程测量的传感器安装位置。
4)插入式安装的Prosonic Flow W传感器采用单行程测量的传感器安装位置
5)工作频率为6 MHz的传感器适用于流速≤10m/s (32.8 ft/s)介质的测量。
3.安装附件
安装前,必须事先确定传感器的所需安装间距。安装间距与流体类型、管道材料和实际管径大小相关。变送器中已内置下表列举的常用流体、管道材料及管道内衬材料的声速参数:
3.1、内置表格

实际工况条件不同于上表中列举的各项信息,且用户无法获悉声波在实际流体/管道材料中的传播速度时.请使用DDU18传感器进行声速测量,使用DDU19传感器进行管壁厚度测星

3.2安装的支架和93变送器

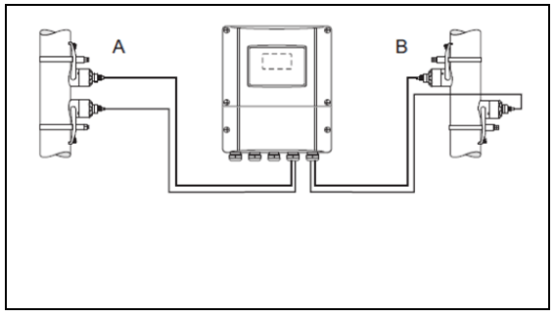
4、双通道测量
变送器具有两个独立工作的测量通道(测量通道1和测量通道2)。每个测量通道上均可以连接一对传感器。两个测量通道彼此独立工作,同时受变送器的控制。双通道测量模 式适用于下列测量场合:
●双通道测量:两个独立测量点的流量测量
●双声路测量:单个测量点的冗余流量测量
4.1双通道测量
可以分别处理和显示两个测量通道中的测量参数。采用双通道测量时,可以输出下列测量参数:
●每个测量通道的测量值(输出彼此独立)
●两个测量值的差值
●两个测量值的总和
可以分别对两个测量通道进行设置, 以便分别设定和选择每个测量通道的显示参数、输出参数、传感器类型和安装类型

双通道测量的原理示意图:将两对传感器分别安装在两个独立的测量点上
A测量通道1 :双行程测量时的传感器安装位置
B测量通道2 :单行程测量时的传感器安装位置
4.2双声路测量
双声路测量用于单个测量点的冗余流量测量。可以分别处理和显示两个测量通道中的测量参数。采用双声路测量时,可以输出下列测量参数:
●每个测量通道的测量值(输出彼此独立)
●两个测量值的平均值
测量值“平均化”功能可提供更加稳定的测量值。此功能适用于非理想条件下(例如:前直管段较短时)的测量。
可以分别进行两个测量通道的设置, 以便分别设定和选择每个测量通道的显示参数、输出参数、传感器类型和安装类型。
采用双声路测量模式时,通常无需对两个测量通道分别进行设置。但是,在某些特殊测量场合下,需要分别设置两个测量通道,以均衡不对称系统结构对测量的影响。

双声路测量的原理示意图:将两对传感器安装在同一测量点上
A测量通道1和测量通道2 :双行程测量时的传感器安装位置
B测量通道1和测量通道2 :单行程测量时的传感器安装位置
五.传感器固定方式如下: .

1.安裝带U形螺丝的传感器基座
传感器: Prosonic Flow 93P和Prosonic Flow93W (DN 15- 65/ 1/2- 21/2,) ,安装在标称直径DN≤32 (1/4)的管道上。

用U形螺丝安装Prosonic FlowP基座(DN 15- 65
/ 1/2- 21/2,)
1.从传感器基座上断开传感器。
2.将传感器基座定位到管道上。
3.将U形螺丝穿入传感器基座,并适当润滑螺纹。
4.将螺母拧到J形螺丝上
5.将基座调整到正确位置, 均匀紧固螺母。
警告!
如果U形螺丝的螺母拧得太紧,可能会损坏塑料管或玻璃管!当在塑料管或玻璃管上操作时,建议使用金属瓦片(位于传感器对侧)
2.使用捆绑带安装传感器基座
传感器: Prosonic Flow 93P和Prosonic Flow93W (DN 15- 65/ 1/2- 1/2') ,安装在标称直径DN>32(11/4')的管道上。

1,从传感器基座上断开传感器。
2将传感器基座定位到营道上绞已拖捆绑带镜在传感器基座和管道上,注意不要担
4.将捆绑带末端穿入
5.用手尽量拉紧捆绑苦,捆绑带锁扣张紧螺钉向上推
6:将传感器基座调整到正确位置.
7.将捆绑螺钉压下紧固捆绑带吉.使捆绑带无法滑
8如有必要, 截短捆绑带后,修整切割边缘

警告!
有受伤危险。在截短捆绑带后要修整切割边缘,以防形成利刃。
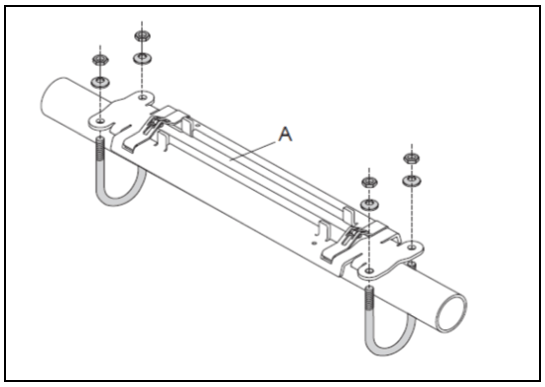
3.预装捆绑带(中等标称直径)
传感器: Prosonic Flow 93P和Prosonic Flow93W (DN 50 - 4000/2- 160) ,安装在标称直径DNDN≤200(8')的管道上。

1)安装螺栓2)捆绑带3)张紧螺钉
第一根捆绑带的安装步骤
1.将安装螺栓安装在捆绑带上。
2.将捆绑带绕在管道上,注意不要扭绞捆绑带。
3.将捆绑带末端穿过捆绑带锁扣(张紧螺钉向上推)。
4.用手尽量拉紧捆绑带。
5.将捆绑带调整到所需位置。
6.将张紧螺钉压下,紧固捆绑带,使捆绑带无法滑动。
第二根捆绑带的安装步骤
7.按第一根捆绑带的操作步骤操作(步骤1 - 7)。仅稍稍紧固第二根捆绑带,以便于最终安装。捆绑带必须可以移动,以便于做最终调整。
8.如有必要,截短捆绑带后,修整切割边缘。
4.预装捆绑带(大标称直径)
传感器:ProsonicFlow93P(DN50-4000/2-160")、Prosonic Flow 93W ,安装在标称直径DN> 200 (8")的管道上。

预装捆绑带:管道直径DN > 200 (8') 1带安装螺栓的中心定位板2捆绑带3张紧螺钉
1.测量管道周长。
2.将捆绑带截短到-定长度(管道周长+ 10 cm(3.94")) ,并修整切割边缘。
第一根捆绑带的安装步骤
3.将中心定位板和安装螺栓-起固定到捆绑带 上。
4.将捆绑带绕在管道上,注意不要扭绞捆绑带。
5.将捆绑带末端穿过捆绑带锁扣(张紧螺钉向上推)。
6.手尽量拉紧捆绑带。
7.将捆绑带调整到所需位置。
8.将张紧螺钉压下,紧固捆绑带,使捆绑带无法滑动。
第二根捆绑带的安装步骤
9.按第一根捆绑带的步骤执行( 步骤3- 8)。仅稍稍紧固第二根捆绑带,以便于最终安装。捆绑带必须可以移动,以便于做最终调整.
5.安装焊接螺栓
传感器:ProsonicFlow93P(DN50-4000/2-160)、Prosonic Flow 93W ,安装在标称直径DN50- 4000(2 - 160)的管道上。
步骤
焊接螺栓必须按照计算的安装间距固定,该间距大小与使用捆绑带的安装螺栓相同。以以章节介绍了采用不同安装方式和测量方法时应如何对齐安装螺栓:

使用焊接螺栓1焊缝2固定螺母3螺栓孔最大直径: 8.7 mm (0.34")
●Prosonic Flow P (DN 50 - 4000/ 2- 160)
●单行程测量的安装
●双行程测量的安装
●Prosonic Flow W
●单行程测量的安装
●双行程测量的安装
传感器基座使用标准ISO M6公制螺纹的固定螺母进行固定。如果要使用其他螺丝来固定基座,则必须使用带可拆卸固定螺母的传感器基座(订货号: 93WAx - xxxxxxxxx)。
6. Prosonic Flow P和Prosonic Flow 93W(DN15- 65/ 4/2 - 2/2")的安装
前提条件
安装距离(传感器间距)
●传感器基座已安装材料
安装时需要使用以下材料:
●传感器(含适配电缆)
●连接到变送器的连接电缆

●用于在传感器和管道之间实现声学连接的耦合剂
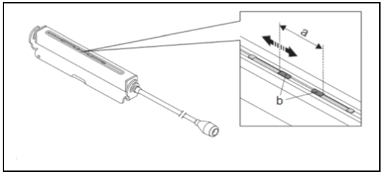
1.根据确定的传感器间距值调整传感器的安装间距。稍稍向下按压来移动传感器。
2.在传感器接触表面上均匀地涂上一层耦合剂(厚度大约为0.5 - 1 mm / 0.02 - 0.04")。
3.将传感器外壳装在传感器基座上。根据传感器间距值调整传感器的安装间距a)传感器间距b)传感器接触表面

4.用胺装架固定传感器外壳。
注意!
-如有必要,可使用螺丝/螺母或铅封(非标准供货件)来固定基座和传感器外壳。
-安装架只能使用辅助工具来拆卸。
5.将连接电缆连接到接头电缆。安装过程到此结束。现在可通过连接电缆将传感器连接到变送器
7. Prosonic Flow P的安装(DN 50- 4000 / 2'-
160')
7.1 Prosonic Flow P单行程测量的安装

步骤
1.准备两根测量钢丝线:
-放置端头和固定器,确保它们之间的距离等于线长(SL)。
-将固定器拧到测量钢丝线上。
注: SL : WIRE LENGTH线长

2.布置第一 根测量钢丝线:
-将固定器装在固定捆绑带的安装螺栓上。
- -clockwise顺时针 “走在”管道上。
-将测量钢丝线的端头套在活动捆绑带的安装螺栓
3.布置第二 根测量钢丝线:
- 将端头装在固定捆绑带的安装螺栓上。
-将测量钢丝线counterclockwise逆时针“走在”管道上。
- 将固定器套在活动捆绑带的安装螺栓上。
4.移动活动捆绑带(包括安装螺栓) ,直到两根测量导线都均匀张紧,然后,紧固这根捆绑带,使捆绑带无法滑动。

5.松开测量钢丝线上的固定器螺钉,从安装螺栓上拆下测量钢丝线。
6.将传感器基座装在各个安装螺栓上,用固定螺母牢牢紧固。

7.在传感器接触表面上,从凹槽经过中心至对面边缘,均匀涂上一层耦合剂,厚度大约为1 mm(0.04")

8.将传感器插入传感器基座。
9.将传感器压在传感器基座上,旋转直到:‘咔嗒”-声啮合传感器外壳-箭头
"close" )相互对准。
10.将连接电缆接入各个传感器。安装过程到此结束。使用连接电缆将传感器连接到变送器。
7.2 Prosonic Flow P双行程测量的安装(DN 50-600 /2'- 24")

利用安装导轨尺确定距离(例如,"POSITIONSENSOR G22”/ "传感器位置G22” )
步骤
1.利用安装导轨尺定位捆绑带。
-将安装导轨尺上标有"POSITION SENSOR /传感器位置”特定字母的钻孔套在固定捆绑带安装螺栓上。
-调整活动捆绑带的位置,将标有"POSITIONSENSOR /传感器位置”特定数值的钻孔套在安装导轨尺上。

2.紧固活动的捆绑带,使其无法滑动。
3.从安装螺栓上拆下安装导轨尺。.
4.将传感器基座装在各个安装螺栓上,用固定螺母牢牢紧固。
5.将安装导轨尺的固定架拧到相关的传感器基座上。
6.将安装导轨尺拧到传感器基座上。

7.在传感器接触表面上,从凹槽经过中心至对面边缘,均匀涂上一层耦合剂,厚度大约为1 mm(0.04")

安装传感器及连接电缆
8.将传感器插入传感器基座。
9.将传感器压在传感器基座上,旋转直到:“咔嗒”-声啮合传感器外壳-箭头
"close" )相互对准。
10.将连接电缆接入各个传感器。安装过程到此结束。使用连接电缆将传感器连接到变送器。
8. Prosonic Flow W的安装(捆绑式)
8.1 Prosonic Flow W单行程测量的安装

步骤
1.准备两根测量钢丝线:
-放置端头和固定器,确保它们之间的距离等于线长(SL)。
-将固定器拧到测量钢丝线上。
注: SL: WIRE LENGTH线长

2.布置第一根测量钢丝线:
-将固定器装在固定捆绑带的安装螺栓上。
-clockwise顺时针”走在”管道上。
-将测量钢丝线的端头套在活动捆绑带的安装螺栓上。
3.布置第二根测量钢丝线:
-将端头装在固定捆绑带的安装螺栓上。
-将测量钢丝线counterclockwise逆时针 “走在”管道上。
-将固定器套在活动捆绑带的安装螺栓上。
4.移动活动捆绑带(包括安装螺栓),直到两根测量导线都均匀张紧,然后,紧固这根捆绑带,使捆绑带无法滑动。

5松开测最钢丝线上的固定器螺钉,从安装螺栓上拆下测量钢丝线。
6.将传感骚基座装在各个安装螺栓上,用固定螺母牢牢紧固。

7.在传感器接触表面上,从凹槽经过中心至对面边缘,均匀涂上一层耦合剂,厚度大约为1 mm(0.04")

8.将传感器插入传感器基座。
9.将传感器压在传感器基座上,旋转直到:一“咔嗒" -声啮合传感器外壳-箭头( "close" )相互对准。
10.将连接电缆接入各个传感器。安装过程到此结束。使用连接电缆将传感器连接到变送器。
8.2 Prosonic Flow W双行程测量的安装

利用安装导轨尺确定距离(例如,"POSITIONSENSOR G22” /“传感器位置G22”)
步骤
1.利用安装导轨尺定位捆绑带。将安装导轨尺上标有“POSITION SENSOR /传感器位置”特定字母的钻孔套在固定捆绑带安装螺栓上。
-调整活动捆绑带的位置, 将标有"POSITIONSENSOR /传感器位置”特定数值的钻孔套在安装导轨尺上。

2.紧固活动的捆绑带, 使其无法滑动。
3.从安装螺栓上拆下安装导轨尺。
4.将传感器基座装在各个安装螺栓上,用固定螺母牢牢紧固。

5.在传感器接触表面上,从凹槽经过中心至对面边缘,均匀涂上一层耦合剂,厚度大约为1 mm(0.04)

6.将传感器插入传感器基座。
7将传感器压在传感器基座上,旋转直到:
-“咔嗒”一声啮合传感器外壳
-箭头
"close" )相互对准。
8.将连接电缆接入各个传感器。安装过程到此结束。使用连接电缆将传感器连接到变送器。
9.安装Prosonic W插入式传感器
9.1单通道测量的插入式安装

1.决定管道的安装区域(e) :
一安装位置
一.上/下游直管段
-测量点空间要求:大约1x管道直径
2.标记管道安装位置的中间线和标记第一个钻孔的位置(钻孔直径: 65 mm/ 2.56' )
注意!中间线长度大于钻孔!

3.切割第一个孔, e.g.如果不知道测量管壁的厚度用等离子切割机
4.确定传感器的距离
注意!确定传感器的距离如下:
用按钮操作,通过快速设置中“传感器安装"菜单,运行快速设置,传感器的距离在SENSORDISTANCE功能中显示,在运行'SensorInstallation'快速设置前变送器必须安装和连接电源。

5.从第一个钻孔画出传感器的距离
6.管道背面的中间线并画出

7.标记管道背面中间线的钻孔
8.切割出第二个钻孔并且准备焊接钻孔的传感器甚座(倒角、清洁等)

9.插入传感器基座,调整焊接深度,用插入深度调节的特殊工具(可选)来固定两个传感器基座,接着使用拉杆成一线,传感器基座必须与管道的内侧齐平
10.点焊两个传感器基座

11.焊接传感器基座
12.再次检查钻孔和通道长度之间的距离
注意!确定通道长度如下:
用按钮操作,通过快速设置中“传感器安装"菜单,运行快速设置,通道长度在PATH LENGTH功能中显示,在运行'Sensor Installation'快速设置前变送器必须安装和连接电源。
13.用手旋传感器到传感器基座上,如果使用-一个工具,最大扭矩容许30 Nm
14.插入传感器连接头,手动拧紧
9.2双通道测量的插入式安装

1.决定管道的安装区域(e) :
-安装位置
-上/下游直管段
-测量点空间要求:大约1x管道直径
2.标记管道安装位置的中间线

3.在探头支架安装位置,在中间线的-侧标记弧长(b),通常,弧长大约在管道周长的1/12。指出第一个钻孔(钻孔直径大约在81 to 82 mm/ 3.19 to3.23")
4.切割第一个孔, e.g.如果不知道测量管壁的厚度用等离子切割机

5.在距离洞(探头距离)和弧长之间确定探头的距离
注意!
确定传感器的距离如下:
用按钮操作,通过快速设置中“传感器安装"菜单,运行快速设置,传感器的距离在SENSORDISTANCE功能(6886)中显示和弧长在ARCLENGTH功能中显示,在运行前变送器必须安装和
连接电源。
6.用弧长来纠正中间线

7.设计在管道的另外- -侧的修正中间线并且画上(管道周长的一半)
8.指出在中间线的传感器距离和在管道背面设计中间线

9.在中间线的每- -侧延伸弧长和指出钻孔
10.钻孔并准备焊接传感器基座的钻孔(倒角,清洁等)
注意!
为传感器基座准备的钻孔总是成对出现的( CH1-CH1和CH2-CH2 )

11.插入传感器基座到第一-组 成对的钻孔中,用伸缩杆连成一线(校准直线工具),点焊传感器基座接着永久焊接两个传感器基座。
注意!
对齐拉杆,两个导引夹必须在传感器基座上拧紧。

12.焊接两个传感器基座
13. 再次检查通道长度、传感器距离以及弧长
注意!
这些距离在Quick Setup中能够得到,如果有偏差,当调试测量点时注意这些并进入修正系数。

1橋入第二对传感赣到传感器基座上,并焊接两个传感器基座

15.用手旋传感器到传感器基座上, 如果使用一一个工具,最大扭矩容许30 Nm
16.插入传感器连接头,并手动拧紧
友情链接
服务范围
工业自动化产品专业代理,品质保证
技术领先,价格优势,报价迅速,产品全面
技术选型,产品报价,销售安装,工程售后,为您提供工业自动化一站式服务
自动化专业销售
Tel. 19925440503(微信同号) WhatsApp: +86 18576429229
联系工程师
扫码添加WhatsApp
