CM44x变送器- DO溶解氧基本调试
CM44x变送器+ DO溶解氧基本调试
1安装
CM44x共有3种安装方式,如下
1.1竖直管道安装

1.2水平管道安装

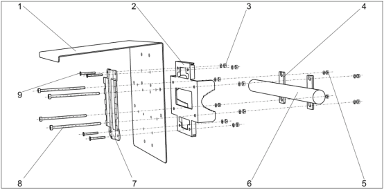
1.3墙式安装

注:竖直管道和水平管道安装需要额外订购安装附件。
2接线
2.1电源接线

注:请看清CM44x铭牌是220VAC还是24VDC供电。
2.2溶解氧传感器接线
2.2.1 COS51D/COS21D/COS22D传感器接线

1)棕白、绿黄四根电缆线分别连接到87 ,88 ,
97 , 98号端子。
2)传感器电缆屏蔽层需接地。
3)电流输出接31 , 32端子。电流输出为有源输出。
注:须保证所有的缆塞拧紧、密封。
2.2.2 COS61D传感器接线

1)粉红、灰、绿、黄分别接到85,86,97,98号端子。
2)传感器电缆屏蔽层需接地;
3)电流输出接到31 , 32端子。电流输出为有源输出。
注:须保证所有的缆塞拧紧、密封。
3按键功能
按下软键:直接选择菜单

旋转浏览器:在菜单中移动光标

按下浏览器:选择功能

旋转浏览器:改变数值

按下浏览键:接受新数值

4设置
4.1量程设置
在"菜单/设置/输出/电流输出x:x"菜单下设置“范围低值”和“范围高值”。

4.2送器复位
在“菜单/诊断/系统测量/置” 菜单下选择“出厂默认”, 复位变送器。

5标定
进入"菜单/标定/溶解氧”选择“空气100%rH"按照菜单提示完成斜率标定。标定结束后显示状态,询问是否调整标定数据。标定失败后显示错误信息。

当测量超纯水中的痕量溶解氧( ppb级)时,须使用零点标液进行零点标定。
1)把半瓶零点粉加入1升自来水中充分溶解,然后把极化完全的传感器放入零点标液中。
2)按CAL键,参照如下路径进行标定。

备注:
口注意传感器的极化时间,有的传感器需要12小时才能完全极化。口零点标定时信号一般在1 nA以下,超过3nA则报警,提示零点标定失败!
6常见故障代码
故障代码及含义自动显示在测量界面;可进入"菜单/诊断”查看故障代码,按“?"键查看故障含义。

7维护传感器
7.1维护COS31/41/51D/71

密封圈如果损坏需更换。
■向砂纸上滴几滴水,打磨传感器前端的金阴极1分钟。
■重新注满新鲜的电解液。使用螺丝刀敲打膜片帽以去除附着的气泡。
■把新的膜片帽拧到底,防止膜片破裂。
■把传感器放在空气中重新标定,防止太阳直射。
7.2维护COS61(D)

密封圈如果损坏需更换。
■把新的膜片帽拧到底,防止阳光照射。
■把传感器放在空气中重新标定,防止太阳直射。
注:如果测量不准,则对传感器进行零点标定。零点标定前把传感器放入零点标液中2-3小时。把半瓶零点粉加入1升水中制造零点标液,其有效期为1天。
7.3维护COS22(D)

密封圈如果损坏需更换。
更换玻璃体(可选,如果阴极被黏附)
■更换膜片帽(可选,如果膜片损坏)
■重新注满新鲜的电解液,使用螺丝刀敲打膜片帽以去除附着的气泡。
■把轴套拧到底,把传感器放在空气中重新标定,防太阳直射。
注:如果测不准,则对传感器进行零点标定。零点标定前把传感器放入零点标液中2-3小时。把半瓶零点粉加入1升水中制造零点标液,其有效期为1天。
具体维护步骤图示如下:

友情链接
服务范围
工业自动化产品专业代理,品质保证
技术领先,价格优势,报价迅速,产品全面
技术选型,产品报价,销售安装,工程售后,为您提供工业自动化一站式服务
自动化专业销售
Tel. 19925440503(微信同号) WhatsApp: +86 18576429229
联系工程师
扫码添加WhatsApp
