T-mass 65安装
管道为满管状态是热式流量计进行准确测量的前提
条件。因此,安装流量计时请注意以下求。
一、安裝位置
●扰动流体状态对基于热扩散原理测量的仪表的影响
巨大。
. 遵守推荐前后直管段长度要求。
●丰富的工程实践经验是正确进行管路系统设计和安
装的前提。
●确保传感器的正确安装方向和安装位置。
●采取必要的措施减少或避免出现冷凝现象(例如:
安装冷凝水分离器、进行隔热处理等)。
●必须遵守最大允许环境温度和介质温度范围的要
求。
●在阴凉处安装变送器,或安装防护罩 。
●基于机械结构考虑,为了保护管道,安装重量较大
的传感器时,建议使用安装基座。

①测量饱和气体或不纯净气体时,建议采用在竖直
管道且流向朝上的安装方向,减小冷凝/污染的影
响。
②强振动场合或安装不稳定时,不建议采用。
③仅适用于纯净/干燥气体。如果可能会出现粘附
或发生冷凝现象时,请勿采取水平管道且变送器表
头朝下的安装方向。传感器的安装参考
④测量潮湿气体或饱和水气体(例如:沼气)时,
应安装在倾斜管道上(a = max. 135*)。
二、隔热
测量潮湿气体或饱和水气体(例如:汽)时,应
对管路和流量计壳体进行隔热处理,防止水滴渗透
进入测量传感器中。

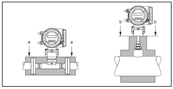
T-mass 65F和65I的最大保温层厚度示意图
a.法兰式传感器的最大保温层厚度
b.插入式传感器的最大保温层厚度
三、热式流量计前后直管段
扰动流体状态对基于热扩散原理测量的仪表的影响
巨大。通常,热式流量计应尽可能远离扰动源安
装。
详细信息请参考ISO 14511标准。
●在流量计的上游侧存在两个或多个扰动源时,应遵
守最强扰动源的推荐前直管段长度。例如:在管道
弯头前安装有阀时,阀与流量计间所需的直管段长
度应为50 x DN。
测量极轻的气体(例如:氦气和氢气)时,所有的前
直管段长度应加倍。
最小推荐前后直管段长度(不带流量调节器) :
法兰式传感器

1=缩径管; 2=扩径管; 3=90°弯头或T型
管; 4=2x90°弯头;
5=2x90°弯头(3向); 6=控制阀
插入式传感器

1=缩径管;2=扩径管;3=90°弯头或T型
管; 4=2x90°头; 5=2x90°弯头(3向)
; 6 =控制阀或压力调节器
-般热式质量流量计安装要求(缩径管、扩径管和
90°弯头或T型管) :
前直管段长度法兰式传感器: 15 x DNO插入式传
感器: 20x DN
后直管段长度法兰式传感器: 2x DNO插入式传感
器:5xDN
四、孔板流量调节器
无法满足前后直管段长度要求时,建议安装孔板流
量调节0器。

1 =法兰式传感器使用的流量调节器; 2=插入式
传感器使用的流量调节器
插入式传感器65I用流量调节器
应用管径范围为DN 80 .. 300 mm(3...12")。流
量调节器必须安装在传感器的上游管道处,前直管
段长度为8 x DN。流量调节器自身还需要5 x DN
的前直管段。
法兰式传感器65F用流量调节器
Endress+ Hauser专用设计的t-mass F传感器(口
径为DN 25 ..100(1' ... 4"))。提供多种安装孔类型
和安装尺寸,一个孔板可以同时满足多种不同法兰
励等级(例如: CI. 150和CI.300)的要求。

流量调节器的安装:
流量调节器和垫圈需要与两个管道法兰和流量计法
兰相匹配。仅允许使用与法兰螺栓孔相匹配的安装
螺母,确保正确定位。定位槽 需要与变送器处于同
-水平面。流量调节器安装错误对测量精度的影响
很小。
1=孔板流量调节器;2=密封圈/垫圈;3=定
位槽; 4=与变送器处于同一平面的校准槽

带压力测量的后直管段长度
勵测量点应安装的测量仪表的下游管道上,以确
保压力变送器的过程连接对进入测量点的流量无影
响。
注意!
●为了优化测量性能,建议同时订购t-mass F传感
器和流量调节器, 使两者能同时进行标定。这样对
测量性能的影响甚微。
●非Endress + Hauser的其他类型流量调节器与t-
mass F传感器配套测量时,管道内的流体状态和压
降可能会影响测量性能。
●螺栓、螺母、密封圈等均为非标准供货件, 需要用
户自备。
五、管路系统的要求
●连接管道应与流量计内径一致最大管径的偏差不
能超过:
-口径< DN 200 (8'):1 mm (0.04 inch)
-口径≥DN 200 (8):3 mm (0.12 inch)
重新安装时,应无金属颗粒和磨损性颗粒生成,防
止启动时损坏感应元件

六、热式质量流量计的安装方向:
务必确保传感器上的箭头指向与管道中气体的流向
致。
法兰式

插入式

①测量饱和气体或不纯净气体时,建议采用竖直管
道且流向向上的安装方向,减小冷凝或污染的影
响。
②剧烈振动环境中,或安装不稳定时 ,不建议采用
此安装方向。
③仅适用于测量清洁气体/干燥气体。测量十分潮湿
的气体或饱和水气体(例如:沼气) ,请勿从在水平
管道的底部安装传感器。应采取如下图所示的倾斜
管道安装方向(口a =135°)
七、插入式传感器的安装

焊接座的安装条件:
小心!
在薄壁矩形管道中安装时,请使用合适的传感器支
架安装。
D = 031.0mm土0.5 mm (0 1.22'土0.019")

调节插入式传感器的位置:
将传感器插入焊接座中, 手拧紧紧固套管下
螺母,再使用扳手(42 mm)拧紧14/4圈。
小心!
●NPT螺纹:使用螺纹密封胶带或密封胶
●G1A螺纹:必须安装密封圈(标准供货件)

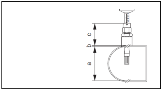
插入深度的计算:
a.圆形管道内径。 传感器竖直安装时,矩形管道的
管道高度;传感器水平安装时,矩形管道的管道宽
度。
(a =min.80 mm或3')
计算插入深度: (0.3 x a)+ b+c + 2 mm
(插入深度=(0.3.A)+B+(C1+C2)+0.079
inch)
b.管壁厚度
c.管道上的焊接短管深度,包括传感器管道接头和在
线更换安装套件可选)。
插入式传感器所需的最小长度可以通过
Endress + Hauser的Applicator选型软件(版本号
10.02或后续版本)计算或通过以下步骤计算。插入
式传感器所需的最小长度取决于所需插入深度。插
入深度计算值必须在相应插入式传感器的可调节范
围内。
1.确定尺寸A、B、C1和C2

A=圆形管道:管道内径(DN)矩形管道/渠:内
部尺寸
B=管壁厚度或渠厚度
C1+C2 =安装组件长度和紧固套管的插入管长度
通过传感器"” 快速设置菜单计算插入深度计算
插入深度时,需要下列参数:


2.计算插入深度插入深度=(0.3-A)+ B + (C1 +
C2)+2mm
3.将插入深度计算值与下表中的参数值相比较,得
出插入式传感器的恰当插入深度。插入深度计算值
必须在相应插入式传感器的可调节范围内!

调节插入深度计算值:
a.拧紧紧固套管的上部螺母,保证仍能进行传感器
位置调节。
b.按照插入深度计算值调节传感器位置。

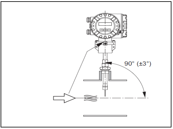
参考流向,调节插入式传感器的插入方向
检查并确认管道上的传感器安装方向与流向呈
90°
, 旋转传感器,使传感器上的箭头指向与流向
一致。


固定插入式传感器:
1.手拧紧紧固套管(1) ,固定传感器。随后,使
肝口扳手(36 mm)顺时针方向再拧紧1/4圈。
2.拧紧两颗固定螺丝(4) , (内六角扳手3 mm ;
1/8")。
警告!注意扭矩大小: 4 Nm (2.95 lbf ft)
3.检查确保传感器和变送器不再转动。
4.在最大工作压力下,检查测量点是否存在泄漏。
八、变送器安装指南
旋转现场型铝外壳:现场型铝外壳,适用于非防爆
区

现场型组外壳,用于1区或C.IDm. 1筋爆场合

a.松开固定螺丝。
b.顺时针方向轻轻旋转变送器外壳,直至挡块位
置(螺纹顶端)。
C.逆时针旋转变送器外壳(max.360°)至所需位
置。
d.重新拧紧固定螺丝。

a.按下显示模块侧边的卡扣,从电子腔盖板上拆卸
下显示模块。
b.将显示模块旋转至所需位置(两个方向上的最大
旋转角度均为4x45°) ,并将显示模块重新安装在
电子腔盖板上。

友情链接
服务范围
工业自动化产品专业代理,品质保证
技术领先,价格优势,报价迅速,产品全面
技术选型,产品报价,销售安装,工程售后,为您提供工业自动化一站式服务
自动化专业销售
Tel. 19925440503(微信同号) WhatsApp: +86 18576429229
联系工程师
扫码添加WhatsApp
