Promag 10 50 53电磁流量计安装
一、安装位置

安装位置:
测量管中出现气体积聚或形成气泡现象时,会增加
.测量误差。
因此,请避免下列安装位置:
管道最高点,易积聚气泡!
●安装在向下排空管道的上方。

泵的安装位置:
不要将传感器安装在泵的入口侧。以避免抽压时损
坏测量管内衬。使用活塞泵、隔膜泵或蠕动泵时
需要安装脉动流缓冲器。

非满管管道:
倾斜非满管状态的管道需配置泄放口。
空管检测(EPD)功能可检测管道状态:满管或非满管
状态。
应避免固体残渣积聚!请勿将传感器安装在倾斜管
道的最低点处,建议安装泄放阀。

竖直管道:
在长于5米(16英尺)的向下管道中,需在传感器的
下游安装虹吸管或泄放阀。以避免抽压时损坏测量
管内衬。这种措施还可以防止系统因压力下降而产
生气穴。
竖直管道上安装(h> 5 m/16 ft)
1.泄放阀
2.虹吸管
二、安装方向:
最佳安装方位有助于避免测量管内的气体积聚和残
渣存积。此外,为了正确测量某些特殊流体,可以
选用下列附件:
●电极清洗回路(ECC) :用于防止测量管中的导电性
介质堆积,如测量易粘附的流体时
●空管检测(EPD)功能:于检测非满管管道,如测
量除气流体或变换过程压力时
●可更换测量电极:用于测量磨损性流体时(仅
Promag W)

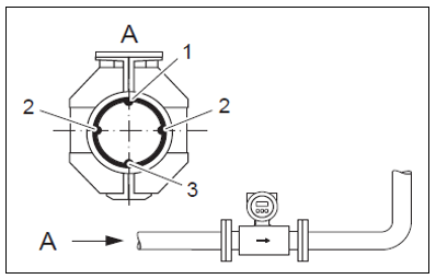
垂直安装:
自排空管道系统以及采用了空管检测功能(EPD)或电
极开路检测功能(OED)的测量系统的理想安装方
位。

水平安装:
测量电极平面必须保持水平,这样可以防止由于气.
泡而导致的两个电极之间的短时间绝缘。
空管检测功能仅当测量管水平安装且变送器外壳竖
直向上时才能正常工作。否则当管道为半满管或空
管状态时,无法保证空管检测功能能够正常工作。
1. EPD电极(空管检测) : (不适用于Promag H,
DN2-15,1/12'-/")。
2.测量电极(信号检测)
3.参考电极(电势平衡) :不适用于Promag H

前后直管段:
如有可能.传感器的安装位置应避开如阀门、三通
管、弯头等管件。

传感器铭牌:
1、订货号/系列号
2、标定K系数/零点
3、口径/压力等级
4、流体温度范围TM:测量管
5、材料: 内衬/电极
6、特殊产品的预留信息
7、允许的环境温度
8、遵守设备文件
9、设备版本的保留的附加信息(认证、证书)
10、标定公差
11、附加信息(举例) :
EPD/MSU :空管检测电极
R/B :参考电极
12、防护等级
13、流体方向
三、振动:

如果振动非常剧烈,注意固定管路和传感器。防止
设备振动的措施(L > 10 m/33 ft)
注意:如果振动非常剧烈,建议分开安装传感器和
变送器。
四、基座与支撑
如果标称直径为DN≥350(≥14") ,请将传感器安
装在具有足够承重能力的基座上。

注意:有损坏危险!请勿使用外框承受传感器的重
量。外框的变形有可能会损坏传感器内部的励磁线
圈。
五势平衡一接地
被测流体和传感器等电势是电磁流量计进行准确测
的前提。大多数传感器都配备有标准参考电极,
以确保等电势连接。通常,不需要采取其它措施或
使用接地环确保电势平衡。
Promag L、Promag W和Promag P参考电极(标
准)。
●Promag H
一无参考电极。通过金属过程连接实现与被测流体
等电势。
-采用塑料过程连接的系统,必须使用接地环实现
系统电势平衡。

标准情况
在接地的金属管道中使用设备时,通过变送器的接
地端子实现电势平衡。

特殊情况
流量计安裝在:
●未接地的金属管道中
此连接方法还适用于:
●无法通过常规方法实现系统电势平衡时
●可能出现极高的平衡电流时
两个法兰均通过接地电缆(铜线,横截面积至少为6
mm2 ( 0.0093 in2))与管道法兰相连接,并接地。
将变送器或传感器接线盒连接至专用接地端子上,
实现系统电势平衡。
●DN≤300 (12') :通过法兰螺栓将接地电缆直接
安装在
法兰的导电涂层上。
●DN≥350 (14") :接地电缆直接安装在金属支架
上

流量计安装在:
●塑料管道中
●带绝缘内衬的管道中
此连接方法还适用于:
●无法通过常规方法实现系统电势平衡时
●可能出现极高的平衡电流时
通过附加接地环实现系统电势平衡。接地环通过接
地电缆(铜线,横截面积至少为6 mm2 ( 0.0093
in2))连接至接地端子上。安装接地环时,请遵守安
装指南的要求。

流量计安装在:带阴极保护单元的管道中
流星计应安装在等电势的管道中。仅需通过接地电
缆(铜线,横截面积至少为6 mm2 ( 0.0093 in2)将
两个管道法兰相连接。通过法兰螺栓将接地电缆直
接安装在法兰的导电涂层上。
此连接方法还适用于:
.必须遵守等电势安装适用规范的要求。
.管道和流量计间不得存在其他导电性电气连接。
.安装材料必须满足应用扭矩的要求。
六.连接电缆的长度

安装分体式仪表时,请遵循下列几点:
●将电缆固定敷设在金属屏蔽管道中。电缆的移动会
导致测量信号失真,特别是流体的电导率较低时。
●请勿将电缆敷设在电气设备和开关柜附近。
●请确保变送器和传感器等电势。
●允许的电缆长度Lmax取决于流体的电导率。
灰色阴影区域=允许范围
Lmax=连接电缆长度( 单位为[m/]/[ft])流体电导
率(单位为μS/cm)
七、Promag L传感器的安装
●安装在两个传感器法兰(DN 50...300) 上的保护板
用于固定接搭法兰,以吸在运输途中保护PTFE内
衬。因此,在将传感器安装到管道中之前,切勿拆
除这些保护板。
●在设备存储期间,不可拆除保护板。
●确保法兰内衬不被损坏或拆除。

注意!
螺丝、螺母和密封圈等不在供货范围之列,必须由
客户提供。传感器安装在两个管道法兰之间:
●必须遵守所要求的扭矩
●如果使用接地环,请按照交货时附带的安装指南进
行操作。
●为符合设备的技术规范,要求在测量段执行
同中心安装
封圈安裝
安装密封圈时需遵守以下说明:
●硬橡胶内衬→始终要求使用附加的密封圈!
●聚氨酯内衬→无需使用密封圈。
●对于PFTE测量管内衬,无需使用密封圈。
●对于DIN法兰,仅使用符合DIN EN 1514-1要求
的密封圈。
●确保所安装的密封圈不会伸入管路横截面部分。
注意!有短路危险!不要使用导电性密封材料,例
如石墨!测量管内侧会形成导电层,使测量信号短
路。
螺丝紧固扭矩(Promag L)详视表格
九、Promag P传感器的安装
注意!安装在两个传感器法兰上的保护板可以保护
上翻转的PTFE ,因此应在安装传感器前才拆
●在设备存储期间,不可拆除保护板。
●确保法兰内衬不被损坏或拆除。

注意!
螺丝、螺母和密封圈等不在供货范围之列,必须由
客户提供。
传感器安装在两个管道法兰之间:
●必须遵守所要求的扭矩
●如果使用接地环,请按照交货时附带的安装指南进
行操作。
密封圈安装:
安装密封圈时需遵守以下说明:
●对于PFA或PFTE测量管内衬,无需使用密封圈。
●对于DIN法兰,仅使用符合DIN EN 1514-1要求
的密封圈。
●确保所安装的密封圈不会伸入管路横截面部分。
注意!有短路危险!不要使用导电性密封材料,例
如石墨!测量管内侧会形成导电层,使测量信号短
路。
螺丝紧固扭矩(Promag L)详视表格
十Promag H传感器的安装
封圈使用:在安装过程连接时,要确保相关密封
圈洁净无尘,正确居中。
注意:使用金属过程连接时,必须牢固地拧紧螺
丝。过程连接与传感器一起形成了金属连接,可确
保规定的密封压力。
●对于塑料过程连接,请遵守润滑螺纹的最大扭矩值
(7 Nm/ 5.2 lbf ft)。在过程连接和塑料对接法兰之
间必须始终使用密封圈。
●应该根据应用情况周期性地更换密封圈,特别是使
用成型密封圈(无菌型)的情况!密封圈的更换间隔
取决于清洁周期、流体温度和清洁温度。密封圈替
换件可作为附
件单独订购。
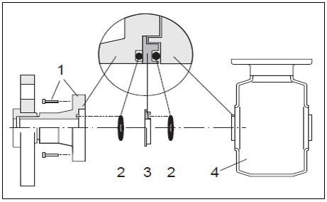
使用和安装接地环(DN 2 - 25,1/12'- 1') :
对塑料过程连接(例如法兰连接或粘合性连接) ,必
须通过附加接地环来确保传感器和流体之间的电势
平衡。如果接地环丢失,电化学反应会损伤电极,
从而影响传感器精度或导致传感器受损。
接地环(包括密封圈)安装在过程连接内部。
端面距不受影响。

安装接地环
1 =过程连接六角螺栓
2=0形圈密封圈
4=传感器
3 =接地环或塑料环(占位零件)
a.拧松四个或六个六角螺栓(1) ,从传感器(4).上拆
除过程连接。
b.从过程连接上拆除塑料环(3),包括两个0形圈密
封圈(2)。
C.将其中一个0形圈密封圈(2)插回到过程连接的凹
槽中。
d.按照图示将金属接地环(3)放入过程连接。
e.将第二个0形圈密封圈(2)插入到接地环的凹槽
中。
f.将过程连接装回到传感器中。在安装过程中,请
确保遵守润滑螺纹的最大扭矩值(7 Nm) (5.2 Ilbf
ft)。
将传感器焊接到管道上(焊接管接头)
注意!
有损坏电子部件的危险!请确保焊接设备没有通过
传感器或变送器接地。
a.请点焊过程连接,将传感器固定在管道内。
合适的焊接夹具可作为附件单独订购。
b.拧松过程连接法兰上的螺丝,从管道上拆除传感
器(包括密封圈)。
C.将过程连接焊接到管道中。
安传感器装回到管道中。
在安装过程中,请确保密封圈洁净和定位正确。
注意!
●在输送食物的薄壁管道上进行正确焊接时,即使安
装了密封圈,也不会因为受热而
损坏。然而,建议在焊接前拆除传感器和密封圈。
●如要进行拆卸工作,必须能够将管道打开大约8
mm(0.31 in)。
十--、旋转变送器外壳
在现场遇到客户观察表头不方便的时候,可以旋转
显示表头。
非防爆区中使用的现场型铝外壳:

a.拧松固定螺丝
b.顺时针方向轻轻旋转变送器外壳至档块(螺纹顶
部)
C.将变送器外壳逆时针旋转(最大360°)至所需位
置。
1区或CI.I Div.1防爆场合中的使用的现场型铝外壳
旋转现场型不锈钢外壳:


十二.安装墙装型外壳
1、直接安装在墙壁上
确定环境温度不超过允许范围( -20 --+60°C)安
装在避光处,避免阳光直射。
安装时将电缆进线口朝下

1.接线腔
2.紧固螺钉M6 : max.o6.5 mm (0.25") ;
螺丝头: max.o10.5 mm (0.4")
3.外壳上的紧固螺钉安装孔
2、柱式安装尺寸图

3、盘式安装尺寸图

友情链接
服务范围
工业自动化产品专业代理,品质保证
技术领先,价格优势,报价迅速,产品全面
技术选型,产品报价,销售安装,工程售后,为您提供工业自动化一站式服务
自动化专业销售
Tel. 19925440503(微信同号) WhatsApp: +86 18576429229
联系工程师
扫码添加WhatsApp
