Promass 40 80 83安装
Promass 40/80/83安装
安装说明:
只要不产生气气蚀现象,测量不受阀门、弯通三通等管件的影响。为了防止测量管受外力影响产生变形造成测量误差,建议安装前检查并确认流量计前后管道中心是否正对(处于同一-水平线上且没有其他方向的偏移) ;前后管道上焊接的法兰是否正对,法兰及法兰孔没有偏移;流量计前后管道均建议做良好支撑防止管道震动对测量造成影响。为保护管道,建议当传感器过重时,采取适当的支架支撑。
安装位置:

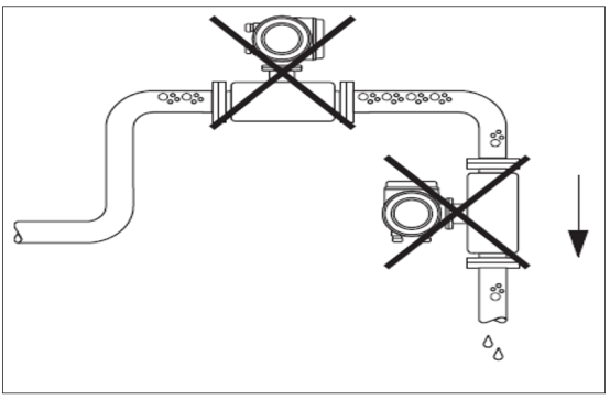
测量管内夹带气泡时,产生测量误差,应避免以,下安装位置:避免在以下管道位置安装流量计流量计安装在管道的最高点,会造成空气积聚流量计直接安装在向下的放空管道出口处

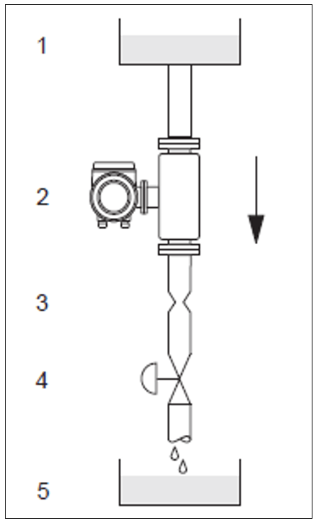
流体自下而上流过流量计。当流量计安装在向下的管道上(如批量控制)时,而且流体自上而下流动时,正确的安装方法
如图所示:
在流量计管路中安装一块尺寸小于 管道公称直径的限流孔板,以防止测量管被抽空。
图中:
1 =供料罐2 =传感器3 =限流孔板4 =阀5=批量贮罐
系统压幼:
确保不产生气穴现象是很重要的,因为气穴现象会影响到测量管的振动。正常条件下测量与水特性相似的流体时不需要采取特殊措施。液体沸点低(碳氢化合物、溶剂、液化气)或者在吸入式管道上时,系统应有足够高的压力。确保压力不低于蒸汽压,即液体不会沸腾。确保液体不产生气化。因此当系统压力足够高的时候,就会避免此种影响。出于这个原因,传感器的最佳安装位置为:
泵的下游(避免真空)垂直管道的最低点处
二、安装方向:
确认传感器铭牌上的箭头方向和流体的流向(流体流过管道的方向)一致。
垂直安装:
建议使流体流向朝上( ViewV ),可使夹带的固体时脑下沉,气体经测量管上升。营内流体可全部排空而避免固体沉积。水平安装测量管必须水平安装。正确的安装是变送器的外壳竖直向上或向下( View H1/H2 ) , 应避免变送器外壳与管道处于同一水平面上。

V V =推荐安装位置
V x =在某些情况下推荐
x =不允许安装位置
为了确保变送器的安装环境温度在20.°.60°"C范围以内,我们推荐以下安装位置:高温流体(>200 °C),采用水平安装 ,送器头部向下(View H2)或竖直安装(View V)②低温流体,采用水平安装,变送器头部向上(ViewH1)或竖直安装(View V)
特别安装说明:
Promass F/E/H的测量管均为微弯管, 因此,水平
安装时必须考虑流体的特性

1、不适用于有固体颗粒的流体,以免固体颗粒积聚
2、不适用于有气体逸出的流体,以免气体积聚
三、伴热
有些测量介质,需要减少传感器处的热量损失,既
可采用电伴热,也可用铜管通热水或蒸汽对传感器进行伴热。
注意:
流量计的电子元件不能过热!另外,分离型传感
器和变送器壳体之间的连接部件以及接线腔不需要保温,注意流体温度对安装方向的要求。
■介质温度在+200。C到+350 °C之间时,高温型一体化流量计不允许伴热。当采用电伴热时通过相位控制或脉冲调节热量,不能排除测量值受磁场的影响,例如测量值大于标准允许值( Sinus 30 A/m)。在这种情况下,必须对传感器进行磁屏蔽。对于寒冷地区采用蒸汽伴热且外加保温时,伴热管与传感器外壳间最好保持1cm左右的距离,伴管不要直接贴在传感器 上。
四、保温
有些测量介质,需要减少传感器处的热量损失,可
使用各种保温材料进行隔离。

如果Promass F高温型流量计为水平安装(变送器
头部向上) ,保温层最小厚度为10mm,最大厚度为60mm。
五、进出口直管段
无直管段要求。但如果有可能最好能够留有直管
段,尤其是安装于切断阀、泵的下游时,不但要尽
可能远离切断阀、泵,还需要在流量计前后管道上
做良好的支撑。安装时流量计尽可能远离阀门、三通和弯通等管件。
六、流温计表头的旋转
在现场遇到客户观察表头不方便的时候,可以旋转示表头。
非防爆区中使用的现场型铝外壳:

a.拧松固定螺丝
b.顺时针方向轻轻旋转变送器外壳至档块(螺纹顶部)
c.将变送器外壳逆时针旋转(最大360°)至所需位置。
1或CI.I Div.1防爆场合中的使用的现场型铝外壳.
旋转现场型不锈钢外壳:


七、安装墙装型外壳
1、直接安装在墙壁上
确定环境温度不超过允许范围( -20 --+60°C),安装在避光处,避免阳光直射。
安装时将电缆进线口朝下

1.接线腔
2.紧固螺钉M6 : max.06.5 mm (0.25") ;螺丝头: max.010.5 mm (0.4")
3.外壳上的紧固螺J安装孔
2、柱式安装尺寸图

3、盘式安装尺寸图

友情链接
服务范围
工业自动化产品专业代理,品质保证
技术领先,价格优势,报价迅速,产品全面
技术选型,产品报价,销售安装,工程售后,为您提供工业自动化一站式服务
自动化专业销售
Tel. 19925440503(微信同号) WhatsApp: +86 18576429229
联系工程师
扫码添加WhatsApp
